Myyntikohteet » FireSea Equipment Oy:n konkurssipesä myy (3138390-5), 28.03.2026 » 1. PATENTTI FI 128972 B / Eurooppalainen yhtenäispatentti (EP) no. 21 710 021.3 - sammutusjärjestelmä ja sammutusmenetelmä

1. PATENTTI FI 128972 B / Eurooppalainen yhtenäispatentti (EP) no. 21 710 021.3 - sammutusjärjestelmä ja sammutusmenetelmä


Tiedot

Kohdenumero 228543

Katsottu 1379 kertaa

PATENTTI: FI 128972 B (15.04.2021)
Eurooppalainen yhtenäispatentti (EP) 21 710 021.3 on hyväksytty
USA patenttihakemus tehty (US PATENT APPLICATION NO. 17/921572)
KANSAINVÄLINEN PATENTTILUOKITUS: palonsammutusjärjestelmät A62C 3/07 ja A62C 3/16

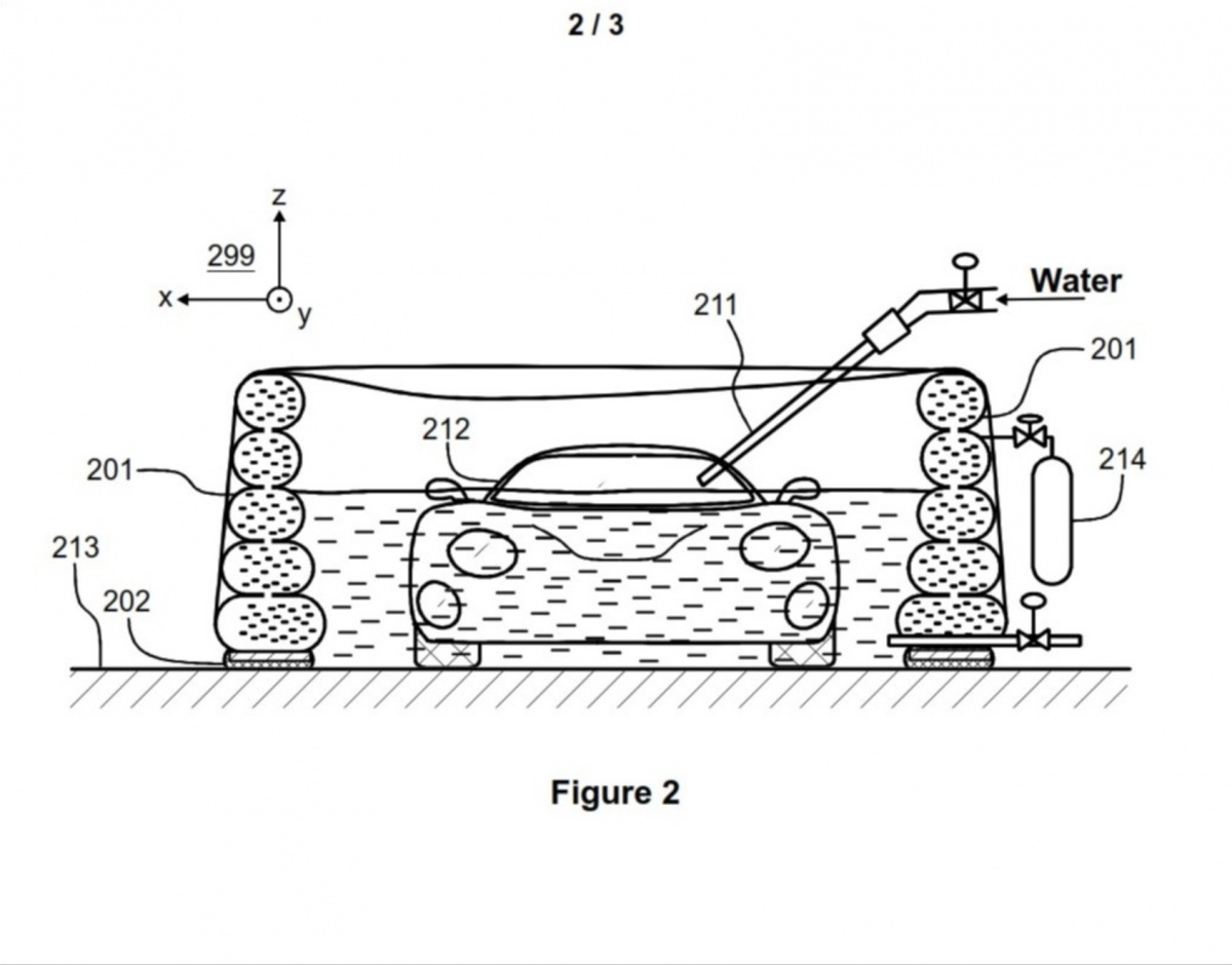
PATENTIN TIIVISTELMÄ: Sammutusjärjestelmä käsittää seinäelementin (101) palavan kohteen (112) ympäröimiseksi. Kohde voi olla esimerkiksi sähkö- tai hybridiauto, joka käsittää akun. Seinäelementin alareuna on konfiguroitu saamaan aikaan tiivistetty liitos seinäelementin alareunan ja pinnan (113), jolla palava kohde sijaitsee, välille. Seinäelementti ja pinta muodostavat altaan, joka voidaan täyttää sammutusvedellä kohteessa olevan palon sammuttamiseksi.

KATSO KAIKKI TIEDOT (PATENTTITIETOPALVELU) SUORA LINKKI:
https://patenttitietopalvelu.prh.fi/fi/patent/20205418/

Tarjoukset pyydetään tekemään sähköpostitse viimeistään 24.4.2026 osoitteeseen [email protected]

Myyjällä on oikeus hyväksyä tai hylätä jätetyt tarjoukset.

Myytävää omaisuutta koskevat mahdolliset tiedustelut: [email protected]

 

Liitteet

 20250729-Intention-to-Grant--R71-3-EPC-Communication-2004.pdf
 20250729-Intention-to-Grant--R71-3-EPC-EDREX.pdf
 20250729-Intention-to-Grant--R71-3-EPC-annex1-2056.pdf
 20250729-Intention-to-Grant--R71-3-EPC-annex2-2906I.pdf
 FI128972-B-JULK.pdf
 FI130803-B1-COVER-Patenttikirja-kansilehti.pdf
 FI20205418-eolf-PIIRUS.pdf
 npl-copyright-statement.pdf